A Apple iniciou o desenvolvimento de seu próprio veículo automotivo em 2014.
Após anos de silêncio no rádio, começaram a circular relatos de que a empresa havia trocado de marcha e agora estava trabalhando em um veículo autônomo que não requeria informações dos passageiros.
Como tal, este carro autônomo não teria nenhum e todos os controles do motorista, incluindo volante e pedais.
Desde então, a Apple registrou várias patentes relacionadas a carros, provocando vários recursos em potencial.
Dito isto, uma patente é particularmente interessante, especialmente considerando o interesse renovado da empresa em veículos autônomos.
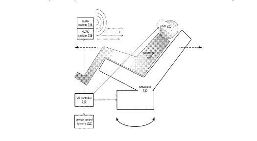
A empresa registrou anteriormente uma patente no Escritório de Patentes e Marcas Registradas dos Estados Unidos para um sistema de entretenimento VR no carro que utiliza o movimento do veículo para mergulhar ainda mais os passageiros em suas experiências nos fones de ouvido.

O conteúdo VR é sincronizado com o movimento e a aceleração do veículo autônomo enquanto ele se desloca para o local desejado, oferecendo uma experiência única baseada em localização que muda de acordo com seu trajeto.
Além do entretenimento, a patente detalha como a tecnologia referenciada pode ser usada para reduzir o enjoo.
Em vez de janelas convencionais, os passageiros veriam o mundo exterior usando seus fones de ouvido VR para acessar as câmeras montadas na parte externa do veículo.
A tecnologia também pode ser usada para assistir a vídeos e ler livros em um ambiente estabilizado, bem como para realizar reuniões virtuais durante a viagem.
De acordo com relatos anteriores, espera-se que a Apple lance seu tão esperado carro autônomo por volta de 2025, embora ainda não tenhamos recebido qualquer forma de confirmação oficial da empresa.
A Apple registrou uma série de marcas ultrajantes no passado que ainda não viram a luz do dia.
